It is currently 16 November 2025, 13:36

FORUM.FIREBLADE.PL

Forum miłośników Hondy FireBlade CBR1000RR-R | CBR1000RR | CBR954RR | CBR929RR | CBR900RR | SC82 | SC77 | SC59 | SC57 | SC50 | SC44 | SC33 | SC28

schenat elemętów tylnej oski kola do SC57

Tematy dotyczące usterek lub awarii Hondy Fireblade CBR1000RR SC57 2004-2007

Moderators: maciekx, Tytus

User avatar
 
Posts: 54
Joined: 12 January 2016, 01:18
Motocykl: CBR 1000rr SC57
Year production: 2004

schenat elemętów tylnej oski kola do SC57

Post » 15 January 2016, 22:13

Witam potrzebowałbym rysunek tych składowych elemętów oski tył . Podejrzewam ze brakuje mi jakiegoś dystansu bo jak dokrecam koło sruba juz nawet troche to mi przestaje sie obracac na oscie a nie jest dociagniete mocno i koło jest w prawa strone skierowane odp.

 
Posts: 538
Joined: 19 March 2013, 21:09
Location: gdańsk
Points: 7
Motocykl: sc33,f4i,
Year production: 1999

Re: schenat elemętów tylnej oski kola do SC57

Post » 15 January 2016, 23:36

Screenshot_2016-01-15-22-25-08-2.png
Screenshot_2016-01-15-22-25-08-3.png

User avatar
 
Posts: 54
Joined: 12 January 2016, 01:18
Motocykl: CBR 1000rr SC57
Year production: 2004

Re: schenat elemętów tylnej oski kola do SC57

Post » 17 January 2016, 14:59

dziękuje kolego moze teraz mi sie cos uda zdiagnozowac ;)

User avatar
 
Posts: 54
Joined: 12 January 2016, 01:18
Motocykl: CBR 1000rr SC57
Year production: 2004

Re: schenat elemętów tylnej oski kola do SC57

Post » 19 January 2016, 18:32

Medrcy tego forum wiece od czego sąte blaszki znalazłem je w zadupku pewnie jakies owiewki bo maja oznaczenie L i R
Attachments
20160119_160306.jpg

 
Posts: 660
Joined: 13 August 2013, 11:00
Location: Tarnów
Points: 20
Motocykl: CBR1100XX
Year production: 2001

Re: schenat elemętów tylnej oski kola do SC57

Post » 19 January 2016, 18:47

a nie są one od mocowania tłumika / uchwytu pod tablice ?

User avatar
 
Posts: 54
Joined: 12 January 2016, 01:18
Motocykl: CBR 1000rr SC57
Year production: 2004

Re: schenat elemętów tylnej oski kola do SC57

Post » 20 January 2016, 11:10

no własnie nie bo tłumik jest kompletny i tablice tez nie z przodu cos chyba oczywiscie sa od sc57A

 
Posts: 3350
Joined: 19 December 2010, 13:40
Location: Piechcin
Points: 104
Motocykl: CBR125,f4i,sc44,sc57A,ZX10R,Cb,sc57A :)
Year production: 2005
Samochód: Seat leon 1 1.9 Tdi :)

Re: schenat elemętów tylnej oski kola do SC57

Post » 20 January 2016, 11:16

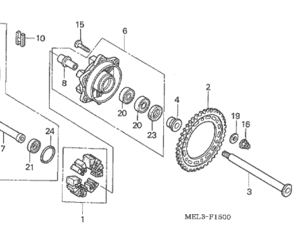
Mi się wydaję ze to okolice płógu. Plastiki sa do tego skręcanie

Image


a tu masz wszystko jak na dłoni wystarczy ściągnąć sobie http://www.fireblade.pl/down_serwisowki.php
Oddam nerkę za cbr :)

User avatar
 
Posts: 54
Joined: 12 January 2016, 01:18
Motocykl: CBR 1000rr SC57
Year production: 2004

Re: schenat elemętów tylnej oski kola do SC57

Post » 20 January 2016, 15:44

Wertło chyba własnie nie te no nic dzięki :piwo: :piwo: :piwo: :piwo: :piwo: :piwo: :piwo: :piwo: :piwo: bedziemy myslec dalej

User avatar
 
Posts: 54
Joined: 12 January 2016, 01:18
Motocykl: CBR 1000rr SC57
Year production: 2004

Re: schenat elemętów tylnej oski kola do SC57

Post » 24 January 2016, 00:11

oska opoanowana ale z tymi blaszkami to już grubsza sprawa jest hehe :D


Return to Usterki/awarie (CBR1000RR SC57)

Who is online

Users browsing this forum: Google [Bot] and 4 guests